固話:021-6040 2598
傳真:021-6040 2599
采購:info@euro-ke.com
銷售:sales@euro-ke.com
上海市寶山區羅店路388號MAX科技園A座504-1室
導讀:外夾式或者管段式超聲波流量儀表是以“速度差法”為原理,測量圓管內液體流量的儀表。它采用了先進的多脈沖技術、信號數字化處理技術及糾錯技術,使流量儀表更能適應工業現場的環境,計量更方便、經濟、準確。產品達到國內外先進水平,可廣泛應用于石油、化工、冶金、電力、給排水等領域。...
外夾式或者管段式超聲波流量儀表是以“速度差法”為原理,測量圓管內液體流量的儀表。它采用了先進的多脈沖技術、信號數字化處理技術及糾錯技術,使流量儀表更能適應工業現場的環境,計量更方便、經濟、準確。產品達到國內外先進水平,可廣泛應用于石油、化工、冶金、電力、給排水等領域。
超聲波流量計是通過檢測流體流動對超聲束(或超聲脈沖)的作用以測量流量的儀表。
根據對信號檢測的原理超聲流量計可分為傳播速度差法(直接時差法、時差法、相位差法和頻差法)、波束偏移法、多普勒法、互相關法、空間濾法及噪聲法等。
超聲流量計和電磁流量計一樣,因儀表流通通道未設置任何阻礙件,均屬無阻礙流量計,是適于解決流量測量困難問題的一類流量計,特別在大口徑流量測量方面有較突出的優點,它是發展迅速的一類流量計之一。
超聲波流量計是一種非接觸式儀表,它既可以測量大管徑的介質流量也可以用于不易接觸和觀察的介質的測量。它的測量準確度很高,幾乎不受被測介質的各種參數的干擾,尤其可以解決其它儀表不能的強腐蝕性、非導電性、放射性及易燃易爆介質的流量測量問題。
現今所存在的缺點主要是可測流體的溫度范圍受超聲波換能鋁及換能器與管道之間的耦合材料耐溫程度的限制,以及高溫下被測流體傳聲速度的原始數據不全。目前我國只能用于測量200℃以下的流體。另外,超聲波流量計的測量線路比一般流量計復雜。這是因為,一般工業計量中液體的流速常常是每秒幾米,而聲波在液體中的傳播速度約為1500m/s左右,被測流體流速(流量)變化帶給聲速的變化量最大也是10-3數量級.若要求測量流速的準確度為1%,則對聲速的測量準確度需為10-5~10-6數量級,因此必須有完善的測量線路才能實現,這也正是超聲波流量計只有在集成電路技術迅速發展的前題下才能得到實際應用的原因。
超聲波流量計由超聲波換能器、電子線路及流量顯示和累積系統三部分組成。超聲波發射換能器將電能轉換為超聲波能量,并將其發射到被測流體中,接收器接收到的超聲波信號,經電子線路放大并轉換為代表流量的電信號供給顯示和積算儀表進行顯示和積算。這樣就實現了流量的檢測和顯示。
超聲波流量計換能器的壓電元件常做成圓形薄片,沿厚度振動。薄片直徑超過厚度的10倍,以保證振動的方向性。壓電元件材料多采用鋯鈦酸鉛。為固定壓電元件,使超聲波以合適的角度射入到流體中,需把元件放入聲楔中,構成換能器整體(又稱探頭)。聲楔的材料不僅要求強度高、耐老化,而且要求超聲波經聲楔后能量損失小即透射系數接近1。常用的聲楔材料是有機玻璃,因為它透明,可以觀察到聲楔中壓電元件的組裝情況。另外,某些橡膠、塑料及膠木也可作聲楔材料。
◆獨特的信號數字化處理技術,使儀表測量信號更穩定、抗干擾能力強、計量更準確。
◆無機械傳動部件不容易損壞,免維護,壽命長。
◆電路更優化、集成度高;功耗低、可靠性高。
◆智能化標準信號輸出,人機界面友好、多種二次信號輸出,供您任意選擇。
◆管段式小管徑測量經濟又方便,測量精度高。
超聲波流量計常用壓電換能器。它利用壓電材料的壓電效應,采用適出的發射電路把電能加到發射換能器的壓電元件上,使其產生超聲波振動。超聲波以某一角度射入流體中傳播,然后由接收換能器接收,并經壓電元件變為電能,以便檢測。發射換能器利用壓電元件的逆壓電效應,而接收換能器則是利用壓電效應。
外夾式超聲波流量計AFTU-2W的技術參數如下:
安裝方式:掛墻式
流速范圍:0~5m/s
準確度:測量值的±1%
重復性:0.2%
鍵盤:16(4×4)輕觸按鍵
顯示屏:20×2點陣字符背光液晶顯示
電源:10~36VDC/1Amax
外殼材質:PC/ABS塑料
防護等級:IP65
環境溫度:-10℃~+50℃
輸出:頻率輸出0-5kHz,OCT方式:4-20mA輸出
通訊:RS-485通訊接口,支持Modbus協議
特點:
可做非接觸式測量
無流動阻撓測量,無壓力損失
可測量非導電性液體
適用口徑: DN6-DN6500適用溫度: -30 to 400℃ (適用防爆區).測厚探頭(可選)測量范圍: (1.0 - 200) mm分辨率: 0.01 mm線性度: 0.1 mm標準型: -20℃ to +60℃高溫型: 0℃ to +200℃短時間可達+540℃應用領域
量程比寬,用途廣泛
多種功能主機,攜帶方便
下載測量值/記錄, 圖形顯示, 格式轉換操作系統: WindowsTM ;過程輸出(可選)輸出與主設備電隔離輸出組數視輸出類型而定. 電流范圍: (0/4-20) mA精度: 0.1%讀數± 15μA有源輸出: Rext < 500??無源輸出: Uext < 24V, Rext < 1k??電壓范圍: (0~1) V或(0~10) V精度: 0~1V: 0.1%讀數± 1mV0~10V: 0.1%讀數± 10mV儀表阻抗: Ri = 500??頻率范圍: 0~1kHz或0~10kHz集電極開路: 24 V/4mA開關量集電極的開路: 24 V/4mA干簧繼電器: 48 V/0.1A功能,如狀態輸出: 上下限, 符號變化或出錯脈沖輸出: 值: (0.01~1000)units寬度: (80~1000)ms過程輸入(可選)輸入與主設備電隔離, 最多4組輸入.溫度類型: Pt100, 四線制范圍: -50℃~400℃分辨率: 0.1 K精度: ± (0.02K + 0.1%讀數)電流范圍: 有源: (0~20)mA無源: (-20~20)mA精度: 0.1%讀數± 10 A有源輸入: Ri = 50??無源輸入: Uext < 24V, Rext < 1k??電壓范圍: (0~1) V或(0~10) V精度: 0~1V: 0.1%讀數± 1mV0~10V: 0.1%讀數± 10mV儀表阻抗: Ri= 1M夾裝式探頭

傳播時間法應用于清潔、單相液體和氣體。典型應用有工廠排放液、:怪液、液化天然氣等;
氣體應用方面在高壓天然氣領域已有使用良好的經驗;
多普勒法適用于異相含量不太高的雙相流體,例如:未處理污水、工廠排放液、臟流程液;通常不適用于非常清潔的液體。
超聲波流量計正確選型才能保證超聲波流量計更好的使用。選用什么種類的超聲波流量計應根據被測流體介質的物理性質和化學性質來決定,使超聲波流量計的通徑、流量范圍、襯里材料、電極材料和輸出電流等都能適應被測流體的性質和流量測量的要求。
1、精密功能檢查
精度等級和功能根據測量要求和使用場合選擇儀表精 度等級,做到經濟合算。比如用于貿易結算、產品交接和能源計量的場合,應該選擇精度等級高些,如1.0級、0.5級,或者更高等級; 用于過程控制的場合,根據控制要求選擇不 同精度等級;有些僅僅是檢測一下過程流量,無需做精確控制和計量的場合,可以選擇精度等級稍低的,如1.5級、2.5級,甚至 4.0級,這時可以選用價格低廉的插入式超聲波流量計。
2、可測量的介質
測量介質流速、儀表量程與口徑 測量一般的介質時,超聲波流量計的滿度 流量可以在測量介質流速0.5—12m/s范圍內 選用,范圍比較寬。選擇儀表規格(口徑)不一 定與工藝管道相同,應視測量流量范圍是否,在流速范圍內確定,即當管道流速偏低,不能滿足流量儀表要求時或者在此流速下測量準 確度不能保證時,需要縮小儀表口徑,從而提 高管內流速,得到滿意測量結果。
應用領域
序號 | 主要應用領域 | 檢測項目 | 應用儀表 |
1 | 環保 | 市政污水測量 | 多普勒超聲波流量計 非滿管超聲波流量計 |
工廠污水排放監測 | 多普勒超聲波流量計 非滿管超聲波流量計 | ||
2 | 油田 | 原油生產流量測量 | 多普勒超聲波流量計 |
固井泥漿流量測量 | 多普勒超聲波流量計 | ||
油田含油污水流量測量 | 多普勒超聲波流量計 非滿管超聲波流量計 | ||
油井注水量流量測量 | 時差式超聲波流量計 | ||
3 | 水務公司 | 江、河、水庫原水測量 | 時差式超聲波流量計 |
自來水流量測量 | 時差式超聲波流量計 | ||
4 | 石油化工 | 石化產品工藝流檢測 | 時差式超聲波流量計 |
工業循環水流量測量 | 時差式超聲波流量計 多普勒超聲波流量計 | ||
5 | 冶金 | 工業循環水流量測量 | 時差式超聲波流量計 多普勒超聲波流量計 |
生產過程耗水量測量 | 時差式超聲波流量計 | ||
選礦礦漿流量測量 | 多普勒超聲波流量計 | ||
6 | 礦山 | 礦井排水流量測量 | 多普勒超聲波流量計 |
選礦礦漿流量測量 | 多普勒超聲波流量計 | ||
7 | 鋁廠 | 生產過程耗水量測量 | 時差式超聲波流量計 |
鋁酸鈉等工藝流流量測控 | 多普勒超聲波流量計 | ||
8 | 造紙 | 紙漿流量測量 | 多普勒超聲波流量計 |
生產過程耗水量測量 | 時差式超聲波流量計 | ||
9 | 制藥廠 | 化學藥品流量測量 | 時差式超聲波流量計 多普勒超聲波流量計 |
生產過程耗水量測量 | 時差式超聲波流量計 | ||
10 | 發電廠、熱電廠 | 生產過程耗水量測量 | 時差式超聲波流量計 |
冷卻循環水流量測量 | 時差式超聲波流量計 | ||
發電機組線圈冷卻水流量測量 | 時差式超聲波流量計 (超小管徑) | ||
11 | 食品 | 果汁流量測量 | 多普勒超聲波流量計 |
奶液流量測量 | 多普勒超聲波流量計 |
管段式傳感器參數
性 能 | 參 數 | |||
測量液體 | 充滿被測管道的水、污水及其它均質液體,懸浮物含量小于10g/L,粒徑小于1mm。 | |||
準確度 | ±1.0% | |||
流速范圍 | ±0.01m/s~±12.0m/s | |||
管徑范圍 | DN300mm~DN2000mm | |||
傳感器材質 | 鋼或不銹鋼 | |||
傳感器承壓能力 | 管徑300~600mm,壓力不超過2MPa;管徑700~2000mm,壓力不超過1MPa | |||
轉換器 | 環境溫度:-10℃~+45℃;濕度≤85%(RH) (特殊環境訂貨時說明) | |||
壁掛式 | 盤裝式 | 一體式 | ||
防護等級 | IP65 | IP51 | IP65 | |
傳感器 | 防護等級:IP68 | 常溫型 | 高溫型 | 低溫型 |
工作溫度 | 0~50℃ | 0~150℃ | -20~0℃ | |
電 纜 | 采用雙芯帶屏蔽高頻電纜,工作溫度-40~+70℃ | |||
信號輸出 | 模擬量:4~20mA或0~20mA或0~10mA軟件可選;負載能力小于600Ω | |||
開關量:累計流量脈沖輸出,閉合3ms,周期6ms,傳輸距離小于500m | ||||
串行口:RS-485,傳輸速率4800bit/s,傳輸距離小于1200m | ||||
鍵 盤 | 1×3按鍵 | |||
顯示器 | 2×16位背光液晶字符顯示器 | |||
顯示內容 | 同屏顯示瞬時流量:-99999.99~+99999.99m3/h 累計流量: -19999999.99~+19999999.99m3,鍵控顯示累計運行時間 | |||
數據存儲 | 累計流量、累計運行時間及各項設置參數,掉電后數據可保存100年 | |||
工作電源 | AC 220V ±15%,50Hz 功率<10W (DC 5~36V、1A,定貨時提出) | |||
電纜長度 | 傳感器到轉換器的布線距離,10m、20m、30m……300m可選 |
管段式傳感器外型尺寸
內徑(mm) DN | 安裝長度(mm) L | 法蘭尺寸(mm) | 重 量 (Kg) | 額定壓力 (MPa) | ||
D | Do | N×A | ||||
300 | 412 | 485 |
| 12×26 |
|
|
350 | 447 | 535 |
| 12×30 |
| |
400 | 481 | 600 |
| 16×30 | 102 | |
450 | 516 | 635 |
| 16×33 | 114 | |
500 | 552 | 700 |
| 20×33 | 148 | |
600 | 621 | 815 |
| 20×36 | 212 | |
700 | 692 | 915 | 850 | 24×36 | 336 |
|
800 | 759 | 1046 | 970 | 24×40 | 500 | |
1000 | 894 | 1288 | 1200 | 28×44 | 821 | |
1200 | 1030 | 1522 | 1434 | 32×44 | 1303 | |
1400 | 1164 | 1778 | 1670 | 32×48 | 1914 | |
1600 | 1298 | 1982 | 1874 | 36×48 | 2442 | |
1800 | 1432 | 2236 | 2114 | 36×52 | 3411 | |
2000 | 1566 | 2446 | 2324 | 40×52 | 4262 |
當超聲波束在液體中傳播時,液體的流動將使傳播時間產生微小變化,并且其傳播時間的變化正比于液體的流速,其關系符合下列表達式
其中
θ為聲束與液體流動方向的夾角
M 為聲束在液體的直線傳播次數
D 為管道內徑
Tup 為聲束在正方向上的傳播時間
Tdown為聲束在逆方向上的傳播時間
ΔT=Tup –Tdown
設靜止流體中的聲速為c,流體流動的速度為u,傳播距離為L,當聲波與流體流動方向一致時(即順流方向),其傳播速度為c+u;反之,傳播速度為c-u.在相距為L的兩處分別放置兩組超聲波發生器和接收器(T1,R1)和(T2,R2)。當T1順方向,T2逆方向發射超聲波時,超聲波分別到達接收器R1和R2所需要的時間為t1和t2,則
t1=L/(c+u); t2=L/(c-u)
由于在工業管道中,流體的流速比聲速小的多,即c>>u,因此兩者的時間差為 ▽t=t2-t1=2Lu/cc 由此可知,當聲波在流體中的傳播速度c已知時,只要測出時間差▽t即可求出流速u,進而可求出流量Q。利用這個原理進行流量測量的方法稱為時差法。此外還可用相差法、頻差法等。
如果超聲波發射器發射連續超聲脈沖或周期較長的脈沖列,則在順流和逆流發射時所接收到的信號之間便要產生相位差▽O,即▽O=w▽t=2wLu/cc
式中,w為超聲波角頻率。當測得▽O時即可求出u,進而求得流量Q。此法用測量相位差▽O代替了測量微小的時差▽t,有利于提高測量精度。但存在者聲速c對測量結果的影響。
為了消除聲速c的影響,常采用頻差法。由前可知,上、下游接收器接受到的超聲波的頻率之差為▽f可用下式表示 ▽f=[(c+u)/L]-[(c-u)/L]=2u/L
由此可知,只要測得▽f就可求得流量Q,并且此法與聲速無關。超聲波技術及其應用一、沒測量水位概況
水電站多采用浮子式液位計或投入式液位計來進行水位測量。其缺點為:測量精度低,不可靠,經常出現浮子卡死不動和傳感器堵塞導致測不準;維護工作量大,安裝、調試不便,采集到的僅是模擬告警信號,不能直接進入電廠計算機監控系統。對無人值班電廠不實用。
通過對攔污柵水位測量系統進行了反復對比,優化得出最后的方案設計,采用超聲波液位計對柵前、柵后水位進行實時準確監測,超聲波液位計用PLC對采集量進行處理。并且把實時水位和壓差數據送到中控室,超聲波液位計顯示和越限報警。超聲波液位計同時采用RS422/RS232接口,又把實時數據送到大壩集中控制室工控機,處理成計算機通信報文,最終將采集量送到電廠計算機監控系統上位機。
該項目實施后不僅滿足欄污柵柵前、柵后水位及壓差的多點實時監測,及報警功能,而且結束了攔污柵測量系統獨立工作,無法與電廠計算機監控系統通訊的局面。實現與閘門系統的監視功能、控制功能以及故障時ON-CALL尋呼系統功能的集成。滿足了無人值班電站的需要。該技術在云南省電力系統還是第一家。
超聲波液位計測量水位的原理以及安裝要求
超聲波液位計工作時,高頻脈沖聲波由換能器(探頭)發出,遇被測物體(水面)表面被反射,折回的反射回波被同一換能器(探頭)接收,轉換成電信號。脈沖發送和接收之間的時間(聲波的運動時間)與換能器到物體表面的距離成正比,聲波傳輸的距離S和聲速C和傳輸時間T之間的關系可以用公式表示:S= CⅩT/2
例如:聲速C=344m/s,傳輸時間為50ms,即可算出傳輸的距離為17.2m,測定距離為8.6m。
三.可編程超聲波式攔污柵水位測量系統在田壩電站應用產生的效果
用超聲波液位計測量大壩水位在當今國內尚不普遍,技術上尚無經驗可以借鑒。在這樣的情況下,我們充分利用PLC與超聲波液位計這一領域的先進技術,按照總體規劃,長遠考慮,一次到位,避免重復改造,重復投資的這一原則,對該項目進行自行設計,全面順利地完成了這一課題。在該領域取得了較有價值的經驗。為目前我國國內水電站實現對大壩水位監測系統提供了一個可以借鑒的范例。
超聲波在流動的流體中傳播時就載上流體流速的信息。因此通過接收到的超聲波就可以檢測出流體的流速,從而換算成流量。根據檢測的方式,可分為傳播速度差法、多普勒法、波束偏移法、噪聲法及相關法等不同類型的超聲波流量計。超聲波流量計是近十幾年來隨著集成電路技術迅速發展才開始應用的一種
非接觸式儀表,適于測量不易接觸和觀察的流體以及大管徑流量。它與水位計聯動可進行敞開水流的流量測量。使用超聲波流量比不用在流體中安裝測量元件故不會改變流體的流動狀態,不產生附加阻力,儀表的安裝及檢修均可不影響生產管線運行因而是一種理想的節能型流量計。
眾所周知,工業流量測量普遍存在著大管徑、大流量測量困難的問題,這是因為一般流量計隨著測量管徑的增大會帶來制造和運輸上的困難,造價提高、能損加大、安裝不僅這個缺點,超聲波流量計均可避免。因為各類超聲波流量計均可管外安裝、非接觸測流,儀表造價基本上與被測管道口徑大小無關,而其它類型的流量計隨著口徑增加,造價大幅度增加,故口徑越大超聲波流量計比相同功能其它類型流量計的功能價格比越優越。被認為是較好的大管徑流量測量儀表,多普勒法超聲波流量計可測雙相介質的流量,故可用于下水道及排污水等臟污流的測量。在發電廠中,用便攜式超聲波流量計測量水輪機進水量、汽輪機循環水量等大管徑流量,比過去的皮脫管流速計方便得多。超聲被流量汁也可用于氣體測量。管徑的適用范圍從2cm到5m,從幾米寬的明渠、暗渠到500m寬的河流都可適用。
另外,超聲測量儀表的流量測量準確度幾乎不受被測流體溫度、壓力、粘度、密度等參數的影響,又可制成非接觸及便攜式測量儀表,故可解決其它類型儀表所難以測量的強腐蝕性、非導電性、放射性及易燃易爆介質的流量測量問題。另外,鑒于非接觸測量特點,再配以合理的電子線路,一臺儀表可適應多種管徑測量和多種流量范圍測量。超聲波流量計的適應能力也是其它儀表不可比擬的。超聲波流量計具有上述一些優點因此它越來越受到重視并且向產品系列化、通用化發展,現已制成不同聲道的標準型、高溫型、防爆型、濕式型儀表以適應不同介質,不同場合和不同管道條件的流量測量。
●插入式超聲流量計:可不停產安裝和維護。采用陶瓷傳感器,使用專用鉆孔裝置進行不停產安裝。一般為單聲道測量,為了提高測量準確度,可選擇三聲道。
●管段式超聲流量計:需切開管路安裝,但以后的維護可不停產。可選擇單聲道或三聲道傳感器。
●外夾式超聲流量計:能夠完成固定和移動測量。采用專用耦合劑(室溫固化的硅橡膠或高溫長鏈聚合油脂)安裝,安裝時不損壞管路。
●便攜式超聲流量計:便攜使用,內置可充電鋰電池,適合移動測量,配接磁性傳感器。
1、非接觸式測量方式、體積小、攜帶方便
2、適用于現場測量各種尺寸管道導聲介質
3、內置鎳氫充電電池工作時間達20小時以上
4、用戶界面靈活,使用簡單
5、智能型現場打印功能,保證流量數據的完整
6、配備一體式鋁合金防護箱,可在野外惡劣環境中使用
● 手持式超聲流量計:體積小,重量輕,內置可充電鋰電池,手持使用,配接磁性傳感器。
● 防爆型超聲流量計:用于爆炸性環境液體流量測量,為防爆兼本安型。即轉換器為防爆型,傳感器為本質安全型。
時差式超聲波流量計是當今世界上具競爭力的流量測量手段,其測量線精度高于1.0%。由于工業現場特別是管路周圍環境的多樣性,因此,怎樣根據特定的環境安裝調試超聲波流量計,就成了超聲波流量測量領域的一個重要課題,本規程詳解了超聲波流量計的安裝細節;從而進一步完整體現了超聲波流量計的精度、可靠性和穩定性的優勢,大大降低日后的維護工作甚至免維護。
超聲波流量計在安裝之前應了解現場情況,包括:
1.安裝傳感器處距主機距離為多少;
2.管道材質、管壁厚度及管徑;
3.管道年限;
4.流體類型、是否含有雜質、氣泡以及是否滿管;
5.流體溫度;
6.安裝現場是否有干擾源(如變頻、強磁場等);
7.主機安放處四季溫度;
8.使用的電源電壓是否穩定;
9.是否需要遠傳信號及種類;
根據以上提供的現場情況,廠家可針對現場情況進行配置,必要情況下也可特制機型。
選擇安裝管段對測試精度影響很大,所選管段應避開干擾和渦流這兩種對測量精度影響較大的情況,一般選擇管段應滿足下列條件:
1、避免在水泵、大功率電臺、變頻,即有強磁場和震動干擾處安裝機器;
2、選擇管材應均勻致密,易于超聲波傳輸的管段;
3、要有足夠長的直管段,安裝點上游直管段必須要大于10D(注:D=直徑),下游要大于5D;
4、安裝點上游距水泵應有30D距離;
5、流體應充滿管道;
6、管道周圍要有足夠的空間便于現場人員操作,地下管道需做測試井,測試井如下:
超聲波流量計一般有兩種探頭安裝方式,即Z法和V法。
但是,當D < 200mm而現場情況為下列條件之一者,也可采用Z法安裝:
1、當被測量流體濁度高,用V法測量收不到信號或信號很弱時;
2、當管道內壁有襯里時;
3、當管道使用年限太長且內壁結垢嚴重時;
對于管道條件較好者,即使D稍大于200mm,為了提高測量精度,也可采用V法安裝。
1、將管道參數輸入儀表,選擇探頭安裝方式,得出安裝距離;
2、在水平管道上,一般應選擇管道的中部,避開頂部和底部(頂部可能含有氣泡、底部可能有沉淀);
3、V法安裝:先確定一個點,按安裝距離在水平位置量出另一個點。
Z法安裝:先確定一個點,按安裝距離在水平位置量出另一個點,然后測出此點在管道另一側的對稱點。
確定探頭位置之后,在兩安裝點±100mm范圍內,使用角磨砂輪機、銼、砂紙等工具將管道打磨至光亮平滑無蝕坑。
要求:光澤均勻,無起伏不平,手感光滑圓潤。需要特別注意,打磨點要求與原管道有同樣的弧度,切忌將安裝點打磨成平面,用酒精或汽油等將此范圍擦凈,以利于探頭粘接。
探頭與儀表接線
探頭(傳感器)
探頭根據實際測量管道可分三種:
S型傳感器(15~100mm)
M型傳感器(50~700mm)
L型傳感器(300~6000mm)
接完線后把探頭內部用硅膠注滿,放置半小時,然后用硅膠和卡具把探頭固定到打磨好的管道上(注意探頭方向,引線端向外),然后觀察儀表的信號強度、良度與傳輸時間比,如發現不好,則細微調整探頭位置,直到儀表的信號達到規定的范圍之內:
(信號強度:一般應大于6.5,少數可根據現場具體情況另定。)
(信號良度:低峰值一般為7~14,高峰值一般為25~80。)
(傳輸時間比:在100±4范圍之內,此值必須穩定。)
關于使用超聲波流量計的幾點體會
流量計有對角和反射兩種模式,當反射模式測不出時用對角模式可能能測出,以至于后來我們一直用反射模式。
流量計對管道要求比較高,保溫層一定要刮掉一部分,否則無法測量。我們測空調水系統時用刀把保溫層割下一塊以防止傳感器,測完后再把割下的保溫層粘上。管道表面盡量光亮,太粗燥的話還得用砂紙打磨。
當管道內流體為非滿管流時很難測出,所以測量位置應盡量選直管段,遠離彎頭、閥門等地方。
流量計讀數的真實性是依賴于信號強度的,信號太低時結果基本不可信,一般要60%以上甚至更到。
由于讀數可能會變化很大,我們采取的做法是讓流量計連續讀數,比如連續記錄一分鐘的讀數,然后取平均值。
測量熱水管路比冷水管路難。因為熱水管壁面溫度高,耦合劑在高溫時容易化。除了產品自帶耦合劑外,我們都嘗試過牙膏。
總結超聲波流量計在測量準確度和精度還有待提高
便攜式超聲波流量計的技術參數如下:測量原理:時差相關原理流速: 0.01~25 m/s分辨率: 0.025 cm/s重復性: 0.15%讀數,視應用而定精度:(流場充分發展且 徑向對稱)體積流量: ± 1%讀數,視應用而定 ± 0.5%讀數,經過標定流速: ± 0.5%讀數,視應用而定可測介質: 所有導聲流體, 且氣泡或固體顆粒的體積含量<10%
便攜式超聲波流量計主機外殼重量: ~ 3.9kg防護等級: IP54 (根據EN60529)材質:鋁合金,粉末涂層尺寸: (270 x 100 x 180)mm (WxHx D)(不含把手)通道: 2危險區: Zone 2電源: 充電電池(6V/4Ah); 外接電源(100 ~ 240)VAC電池工作時間: >10h顯示: 2 x 16 字符, 點陣, 帶背光工作溫度: -10 ~ 60℃功耗: < 15W信號平均: (0 ~ 100)s, 可調測量速率: (100 ~ 1000)Hz (1通道)響應時間: 1s (1通道), 70ms可選.
儀表信號調整好以后,用所配卡具將探頭固定好,注意不要使鋼絲繩傾斜,以免拉動探頭,使探頭移位,再用硅膠將探頭與管道接觸的四周封住。此膠凝固大約需一天時間,在未干之前必須注意探頭防水。(信號線的外屏蔽線必須可靠接地)。
超聲波流量計主要技術指標:
插入式超聲波流量計 | 管段式超聲波流量計 | 外加式超聲波流量計 | |||||
管徑范圍(mm) | DN80-4000 | DN20-2000 | DN20-4000 | ||||
流速范圍(m/s) |
| ||||||
準確度(%) | 單聲道 | 雙聲道 | 三聲道 | 單聲道 | 雙聲道 | 三聲道 |
|
|
|
|
|
|
| ||
測量介質 | 飲用水、河水、海水、地下水、冷卻水、高溫水、污水、潤滑油、柴油、燃油、化工液體、其他均質流體 | ||||||
管道材質 | 金屬(如碳鋼、鑄鐵、不銹鋼、鋁等)非金屬材質(如PVC,有機玻璃等) | ||||||
管襯材質 | 玻璃鋼、沙漿、橡膠等 | ||||||
信號輸出 | 1、4-20mA:阻抗小于800Ω,光電隔離,準確度0.1%。 2、累計脈沖輸出:光電隔離,無源開路輸出,傳輸距離小于500m。 3、RS-485:光電隔離,波特率可選擇,傳輸距離大于1.6Km. 4、打印機:RS-232串口模式。打印機為選配件。 5、M-BUS. | ||||||
鍵 盤 | 2×8漢字鍵盤 | ||||||
顯示器 | 2×10漢字顯示或英文顯示 | ||||||
測量功能 | 顯示瞬時流量、瞬時流速、正累計流量、負累計流量、凈累計流量、累計運行時間、瞬時供熱量、累計共熱量、斷電時間等。 | ||||||
數據存貯 | 可存貯前720小時,前365天,前36個月和前十年的測量數據,包括瞬時流量、累計流量、斷電時間等。 | ||||||
環境溫度 | 轉換器:-10~45℃(特殊環境請說明) 傳感器:-40~+60℃(常溫型) -40~+160℃(高溫型) | ||||||
傳感器材質 | 不銹鋼和陶瓷 | 不銹鋼和普通碳鋼 | 常溫型為尼龍高溫型為合金鋁 | ||||
傳感器承壓能力 | 管內部分壓力小于4.5MPa | DN20~700mm小于2.5MPa DN800~2000mm小于1.6MPa | 與管道內壓力無關建議不浸水工作 | ||||
傳感器防護等級 | IP68 | ||||||
轉換器防護等級 | 壁掛式轉換器:IP65 盤裝式轉換器:IP52 一體式轉換器:IP67 | ||||||
防爆等級 | EXdⅡBT6 | ||||||
傳感器電纜長度 | < 500m | < 500m | < 300m | ||||
傳感器電纜型號 | 專用電纜SEYV-75-2(直徑7mm),越短越好,減少干擾,也可以加長到300m若長要加粗電纜 | ||||||
工作電源 | AC220V, DC12~36V 0.8A (可選) | ||||||
轉換器外形尺寸 | 壁掛式:213×185×107mm 盤裝式:160×80×250mm 一體式:185×140×100mm | ||||||
傳感器外形尺寸 | 220×ø20(桿部)×ø50(連接部)mm | 見管段傳感器數據表 | 60×40×35mm | ||||
轉換器重量 | 壁掛式:1.2Kg 盤裝式:0.8Kg 一體式:1.4Kg | ||||||
傳感器重量 |
| 見管段傳感器數據表 |
| ||||
熱量測量功能 | 測量供熱量、熱損耗、入口溫度、出口溫度 |
安裝超聲波流量計可按照以下步驟操作:
一:觀察安裝現場管道是否滿足直管段前10D后5D以及離泵30D的距離。(D為管道內直徑)
二:確認管道內流體介質以及是否滿管。
三:確認管道材質以及壁厚(充分考慮到管道內壁結垢厚度)
四:確認管道使用年限,在使用10左右的管道,即使是碳鋼材質,最好也采用插入式安裝。
五:前四步驟完成后可確認使用何種傳感器安裝
六:開始向表體輸入參數以確定安裝距離。
七:非常重要:精確測量出安裝距離。
八:安裝傳感器——調試信號——做防水——歸整好信號電纜——清理現場線頭等廢棄物 ——安裝結束——驗收簽字

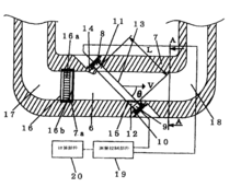
包括:測量流動通道6,被測量的流體通過其中流動;超聲波換能器8和9,分別設置在沿測量流動通道6彼此相對的上游端和下游端;上游孔眼11和下游孔眼12,用于使超聲波換能器8和9暴露于該測量流動通道6;第一流體抑制器15,至少鄰近下游孔眼12,用于減少被測量的流體流入孔眼12;第二流體抑制器16,被設置在測量流動通道6的上游端并相對于孔眼11和12,用于減少被測量的流體流入孔眼11和12;測量控制部件19,用于測量超聲波換能器8和9之間的超聲波的傳播時間;及計算部件20,用于根據該測量控制部件19的信號計算流量。為下游孔眼12設置的第一流體抑制器15包括具有至少一個超聲波傳輸孔22的孔眼密封部件21。因此,有可能穩定超聲波換能器之間的流體,以便增強超聲波的接收水平,從而提高測量精度和對流量測量的上限值,并減少對于超聲波換能器的驅動輸入。
1、超聲波流量計探頭使用一段時間,會出現不定期的報警。尤其是輸送介質雜質較多時,這種問題會較常見。解決辦法:定期清理探頭(建議一年清理一次)。
2、超聲波流量計輸送介質含有水等液體雜質時,流量計引壓管容易產生積液,氣溫較低時會出現引壓管凍堵現象,尤其在北方地區冬季較常見。解決辦法:對引壓管進行吹掃或加電伴熱
3、超聲波流量計對管道的要求非常嚴格 不能有異響 否則會影響測量誤差很大
超聲波在傳播過程中,由于受介質和介質中雜質的阻礙或吸收,其強度會產生衰減。不論是超聲波流量計還是超聲波物位計,對所接受的聲波強度都有一定要求,所以都要對各種衰減進行抑制。
4、瞬時流量波動大?
信號強度大,本身測量流體波動大.
解決方法:調整好探頭位置,提高信號強度,保證信號強度穩定,如本身流體波動大,則位置不好,重新選點,確保前10D后5D的工況要求.
5、外夾式超聲波流量計信號低?
這個取決于儀表本身的技術含量,經過現場大量的測試實例證明,像管道時間長,結垢嚴重,管徑大的問題,艾拓利爾AFTU-2W系列較其他外夾式超聲波流量計,出信號非常快,而且信號很穩定。.
解決方法:對于管徑大、結垢嚴重、建議選用品質好的外夾式超聲波流量計,探頭安裝處管道要打磨干凈,用耦合劑或耦合片排除探頭與工件表面之間的空氣,使超聲波能有效地傳入管道內,保證探測面上有足夠的聲強透射率.
6、測量介質中偶爾有氣泡產生,用時差法的超聲波流量計是否有影響?
今艾拓利爾AFTU-2W系列外夾式超聲波流量計有雙模式,當有氣泡時,可以自動轉入多普勒模式去測量,當氣泡消失時,會自動轉入時差法測量.
7、儀表在現場強干擾下無法使用?
現場有變頻器或高電壓電纜場強電磁干擾
建議:遠離變頻器或高電壓電纜場強電磁干擾
8、目前市場上外夾式的超聲波流量計管徑最小能測到多少?溫度最高多少?
解答:現在全世界只有艾拓利爾AFTU-2W系列最小管徑能測到6mm,溫度能測到550℃,像測熔鹽和導熱油這類工況,這是其他品牌流量計無法做到的。
9、怎樣選擇一款合適的超聲波流量計?
解答: 管道材質、管壁厚度及管徑;流體類型、是否含有雜質、氣泡以及是否滿管;流體溫度,流量計類型,是便攜的還是固定在線的。
超聲波流量計采用時差式測量原理:一個探頭發射信號穿過管壁、介質、另一側管壁后,被另一個探頭接收到,同時,第二個探頭同樣發射信號被第一個探頭接收到,由于受到介質流速的影響,二者存在時間差Δt,根據推算可以得出流速V和時間差Δt之間的換算關系V=(C2/2L)×Δt,進而可以得到流量值Q
流量測量的發展可追溯到古代的水利工程和城市供水系統。古羅馬凱撒時代已采用孔板測量居民的飲用水水量。公元前1000年左右古埃及用堰法測量尼羅河的流量。我國著名的都江堰水利工程應用寶瓶口的水位觀測水量大小等等。17世紀托里拆利奠定差壓式流量計的理論基礎,這是流量測量的里程碑。自那以后,18、19世紀流量測量的許多類型儀表的雛形開始形成,如堰、示蹤法、皮托管、文丘里管、容積、渦輪及靶式流量計等。20世紀由于過程工業、能量計量、城市公用事業對流量測量的需求急劇增長,才促使儀表迅速發展,微電子技術和計算機技術的飛躍發展極大地推動儀表更新換代,新型流量計如雨后春筍般涌現出來。至今,據稱已有上百種流量計投向市場,現場使用中許多棘手的難題可望獲得解決。 我國開展近代流量測量技術的工作比較晚,早期所需的流量儀表均從國外進口。 流量測量是研究物質量變的科學,質量互變規律是事物聯系發展的基本規律,因此其測量對象已不限于傳統意義上的管道液體,凡需掌握量變的地方都有流量測量的問題。流量和壓力、溫度并列為三大檢測參數。對于一定的流體,只要知道這三個參數就可計算其具有的能量,在能量轉換的測量中必須檢測此三個參數。能量轉換是一切生產過程和科學實驗的基礎,因此流量和壓力、溫度儀表一樣得到最廣泛的應用。
便攜式超聲波流量計測量功能
技術優勢(與其他原理相比)
不受電率、壓力、溫度以及粘度的影響,
與介質不接觸,尤其適用于腐蝕性介質的測量
安裝簡單,費用低
可在現有管道上安裝,無需切斷工藝管道
無撓流件,無需縮徑
無泄漏
成本低
上一篇:電磁流量計原理及概述
下一篇:液體流量計原理及概述
專業顧問快速對接您的需求
高質量的設備解決您的需求
專業制作工廠高質量的保證
多年經營值得信賴